Empowering Health:
The T-Works Oxygen Concentrator Story

17th September 2021

The T-Works Oxygen Concentrator is a response to the high demand for oxygen during the Covid pandemic and the lack of an Indian-origin manufacturer for oxygen concentrators.

Designed with locally sourced components, the device uses advanced Pressure Swing Adsorption technology to efficiently filter out nitrogen from ambient air, delivering medical-grade oxygen with 93% ยฑ purity at a flow rate of 5 litres per minute.

This reliable, user-friendly solution addresses a critical need, ensuring accessibility and supporting health infrastructure in times of crisis, while contributing to Indiaโ€™s self-reliance in medical technology.

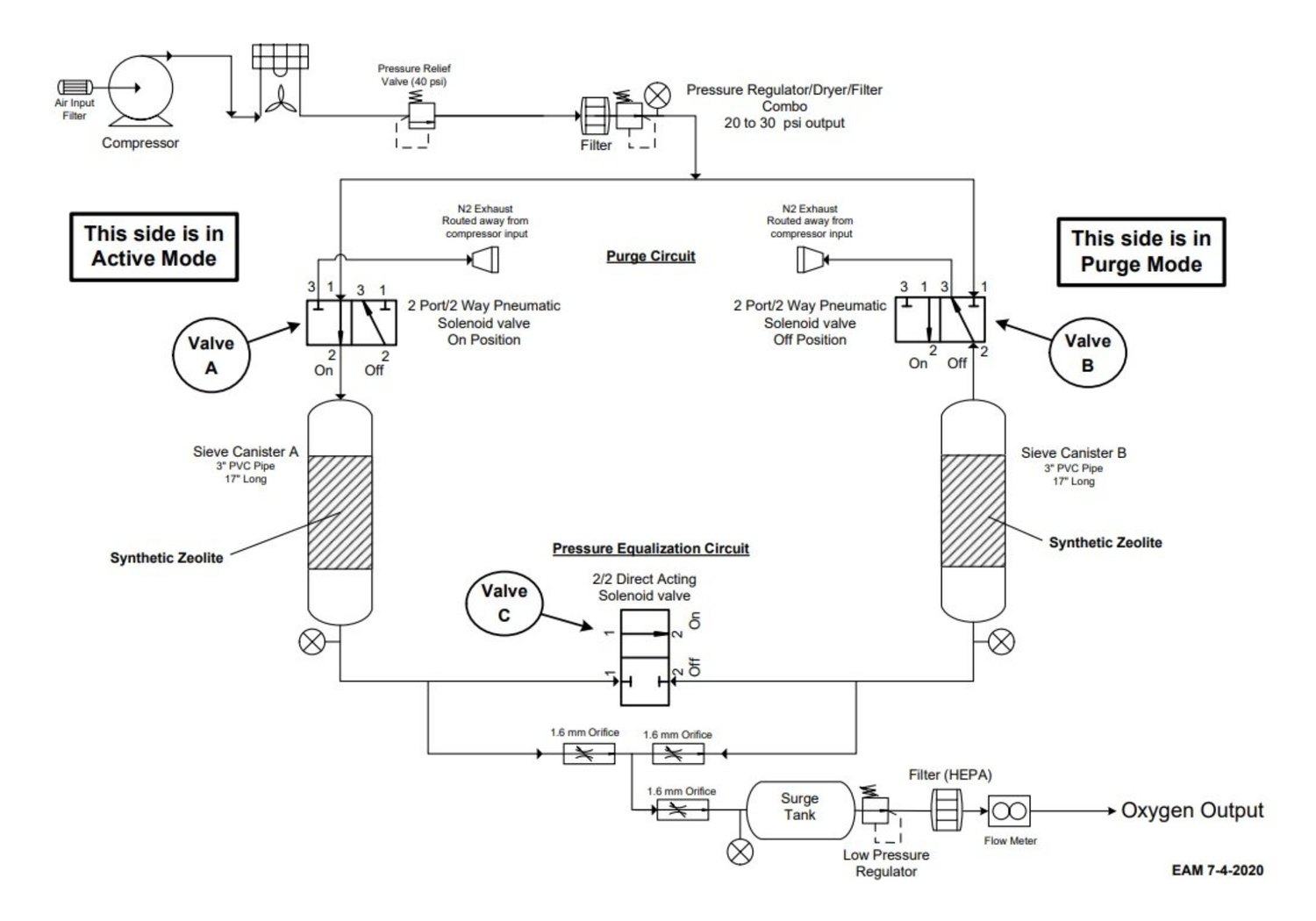
Pressure swing adsorption (PSA) is a cyclic adsorption process for gas separation and purification. This technology uses a highly porous & adsorbent material called Zeolite to separate a specific gas from a mixture of gases under high pressure. Zeolites are part of the family of microporous solids known as Molecular sieved.

The term molecular refers to a particular property of these materials, i.e., the ability to selectively sort molecules based primarily on a size exclusion process. This is due to a very regular pore structure of molecular dimensions.

In this case, a specific Lithium modified zeolite (LiX) is used to separate Oxygen from ambient air using 2 molecular sieve beds with alternating pressurisation, equalisation, & purge cycles which results in Nitrogen being purged out of the system and concentrated Oxygen diverted to the storage tank.

Pressure Swing Adsorption Technology


The open-source pneumatic circuit of Oxikit formed the basis of this research. We aimed to build a 5 Lpm Oxygen concentrator that is relatively portable for home and hospital use. Whereas Oxikits implementation of the PSA process uses Sodium modified zeolite (13x) to produce 20 Lpm oxygen, we have chosen Lithium modified (LiX) zeolite which provides better separation efficiency at lower pressures and reduces the quantity of zeolite required to achieve the 5 Lpm target.

The zeolite is packed in the canisters with porous breather material at both ends. The quantity of zeolite required depends on the desired output oxygen flow rate and the pressures at which the machine is being run.

On account of Zeolite being sensitive to moisture and pressures, the entire process was highly iterative with various factors like pressure, heat, zeolite handling contributing to the results. Multiple configurations of the pneumatic circuit were tried out to find the optimal pressure and airflow conditions.

Ambient air is pulled in through the inlet filter to the compressor and passed to canister A through a 3/2 solenoid valve for the separation of nitrogen.

Research & Ideation

Pure oxygen from Canister A is then fed into the product tank and some amount of this is diverted to Canister B via an orifice or an equalization valve to purge it of the adsorbed nitrogen from the previous cycle.

Upon reaching peak Nitrogen holding capacity, the solenoid valve connected to canister A is turned off and the solenoid valve of Canister B is turned on thus reversing the cycle and purging Canister A of the adsorbed nitrogen. This cyclic process is maintained by switching both the solenoid valves accurately using a microcontroller circuit for flawless timing.

The filtered oxygen from both canisters flows into the product tank which is connected with a pressure regulator. Oxygen at desired pressure flows through the adjustable Rotameter, giving the user control to adjust the flow between 0.5 LPM - 5LPM (as prescribed by a doctor).

Oxygen and pressure sensors are connected in line with this circuit to constantly monitor delivered pressure and concentration. These sensors also enable critical alarms like low pressure and low concentration.


The copper coil as you can see in the image above was used by Oxikit for cooling down the hot air from the compressor and worked well for that machine being 20LPM. But when it was tried out, it caused precipitation of water. Desiccants like activated alumina and silica gel and other moisture separators were tested to reduce the moisture caused by the precipitation. The moisture was in turn affecting the zeolite in the canisters.

The crucial components in the device that affected the O2 flow were the solenoid valves and the orifice. The valves used were smaller in size than required which did not allow the nitrogen to fully purge through it in the given time affecting the next cycle. The orifice is a small cylindrical piece which plays a major role as a flow regulator. Around 800 hours of testing with different component sizes and iterations helped us reach the optimal cycle time.

The volume of buffer tank where the oxygen is collected after purifying, defines the pressure in the tank in turn affecting the flow of oxygen.

This setup was tried in different environmental conditions, room temperature and air conditioned space.

Key challenges and bottlenecks

Main Components

  • Zeolite Canisters

  • Thomas Compressors

  • Storage Tank

  • Solenoid Valves

  • Envitac Honeywell Medical Grade O2 Sensor

  • Pressure Regulator

  • Control Board

The results through a series of testing sessions led the team to best optimal components and materials to be used. The development slowing moved from in-house built prototype to fabricated parts.

For the ideation and prototyping phase, we worked with locally available materials. The zeolite canisters were made from PVC and switched to anodized aluminium sections later for the final prototype. Aluminium is conductive to heat and helped reduce the temperature inside the canisters.

Sheet metal was the material of choice for the structure considering the cost and the speed of prototyping and productizing.

Mechanical Development

The compressor and the zeolite canisters being heavy components, the assembly is designed to be structurally stable and take the weight and vibrations from the compressor. Vibration isolation for the compressor is given with conical compression springs after testing different types of springs. The entire device stands together with rivnuts and M4 SS screws. The enclosure panels form an integral part of the structure.

Push fittings are used in the pneumatic circuit for ease of assembly.

For thermal management, a high flow axial fan is mounted just above the compressor within an enclosed space lined with PU foam. Outlet is given at the bottom of the device.

Technical Specifications

Oxygen Concentration 93%ยฑ3%

Flow Rate 0.5 - 5 LPM

Power Consumption 480 W

Weight 24 kg

Dimensions 330*320*550 mm

Display Alphanumeric 7 segment display

Sound <50 dB

Electronic & Firmware

In the above image you can see the various versions of the PCBs according to our need and the design optimizations.

The code for the firmware was taken from an open source platform and altered to our requirement. A LCD display screen was used for prototyping and later switched to alphanumeric 7 segments.

Main PCB components for display and control board

  • Microcontroller

  • Relays

  • DC/DC converter

  • EMI filter

  • Supercapacitor

  • Alphanumeric 7 segment displays

  • Neopixels

Enclosure & UI Development

Design Features

  • Light weight aluminium body

  • 360ยบ rotation and easy maneuverability with 4 castor wheels

  • Nasal cannula storage

  • Thermal protection to prevent device from over heating

The form is designed to resemble a medicare device and yet be modern to suit a homely as well as a hospital environment. The enclosure encompasses a humidifier bottle, a flowmeter, a filter and a display as the basic functions along with a nasal cannula storage compartment and a handle. Four castor wheels add to the easy maneuverability of the device.

The design of the enclosure was constrained due to limitations of tooling. It is designed in 2 parts for easy assembling and disassembling. Sheet Metal (Aluminium) is used for the 2 parts. Some parts like the rotameter mount, humidifier cup, nasal cannula tray and filter cover have been 3D printed in a Form3D printer and are mounted from the outside. The device follows a theme of white and matt grey.

DISPLAY VARIATIONS

Display shows the run time and indications for the alarms with a simple alphanumeric 7 segments and neopixels with two switches for power on/off & alarm reset.

The display assembly consists of a PCB and an acrylic sheet which gives the display a glass finish.

First variation uses a translucent black acrylic which diffuses the LEDs. Black vinyl pasted on the under side of the acrylic gives it the depth. Second iteration is an acrylic piece UV printed with multiple layers to achieve the desired finish.

Have more questions ?

See our FAq's